印江酒店行业小程序开发
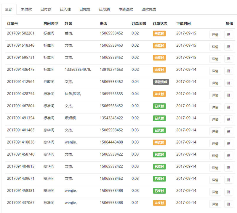
后台支持一键入住,一键退款、退押金、钟点房。支持微信支付、模板消息。客服实时收到新的订单信息,可以在手机端处理订单,支持按日期维护房价和房间数量,支持到店付款。支持积分功能,完成订房后获得的积分可以兑换代金券或优惠券,支持无线打印机和短信,评价打分功能,会员等级功能,二维码核销,积分或特产商城,会员充值。
我对此产品感兴趣-填写意向订购 :)印江酒店行业小程序开发详情
后台支持一键入住,一键退款、退押金、钟点房。支持微信支付、模板消息。客服实时收到新的订单信息,可以在手机端处理订单,支持按日期维护房价和房间数量,支持到店付款。支持积分功能,完成订房后获得的积分可以兑换代金券或优惠券,支持无线打印机和短信,评价打分功能,会员等级功能,二维码核销,积分或特产商城,会员充值(开发中)。
新增手机端管理订单和适合民宿类的大图列表展示模式







相关标签:
上一篇:印江房产中介小程序开发
下一篇:印江蛋糕店小程序开发

![[prov_or_city]小程序开发](/template/default/index/img/menu.png)







